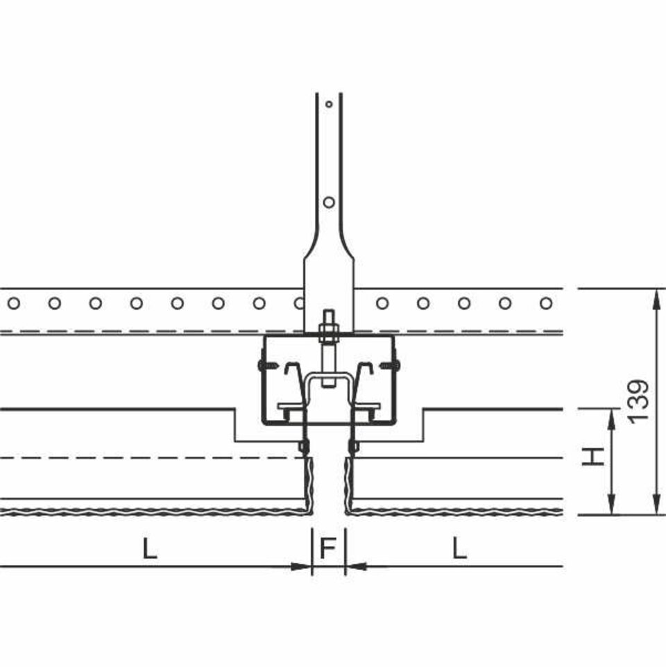
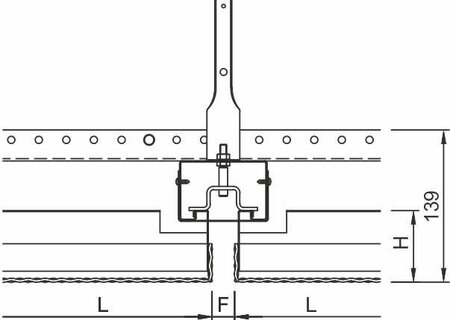
The system LMD-St 213 BWS with accentuated joints is fixed by means of hold-down clips and fulfils the tested ball-impact resistance class. We offer various expanded metal meshes with high open area, if desired, to receive an appealing look. Combine tested function with attractive design: expanded metal ceiling panels with backlighting can be realised. Moreover, every expanded metal ceiling panel can be individually operated.













Circularity: All components can be reused/refurbished
Life Cycle Assessment: EPD according to ISO 14025 and EN 15804
Cradle to Cradle Certified®: C2C Certified® Gold
Businesses, Recreation and Culture: Sports Halls and Gymnasiums, Stadiums and Arenas, Swimming Pools and Aquatic Centres








